蓝颜

欢迎了解蓝颜gtv 有限公司

联系电话:18018747480(王先生)

道路养护管理系统升级来袭!达到更高效的养护协调管理
2019/4/25 18:03:30

随着城市人口的逐渐增多,城市内的路况与交通管理也变得日益复杂。为了满足社会对道路越来越高的要求,道路养护管理系统的研发充分维护建筑物和设施,对路线及沿线设施进行分期改善和添建,保证行车安全舒适、畅通。但养护管理是极其复杂的工作,常受工作环境、气候影响,且投入大量资金、人力用以养护改建。


为了使道路养护保持良好、有序状态,并进行有效管理运营,和智物联提出新的养护管理系统解决方案。基于养护实际业务,将养护流程操作、审批和数据统计与分析系统化、智能化,对道路养护设施材料、人力、管养合同及收费进行综合管理。道路养护管理系统提供项目流程处理、养护督查考核功能、实时监测分析并及时推送应事件与抢险措施。旨在以道路管理为目的,应用系统分析的方法,反映集团调配各养护公司力量的情况、道路灾毁维修统计、道路养护投资情况分析等,达到更高效的养护协调管理。

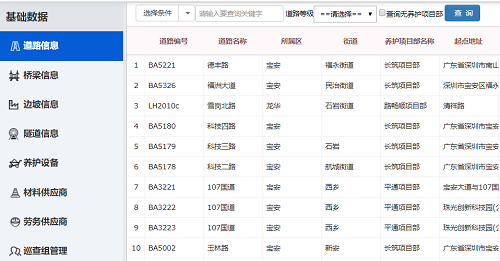
养护基础数据管理

系统对道路设施管养数据、清扫保洁数据、绿化管养等养护数据进行实时分析,对养护基地情况和所有机械设备进行统计附照片,并按照日常养护、隧道养护、绿化保洁进行分类。关于养护从业人员情况系统也将进行详细录入,并可统计出管理人员、一线工人数量、持证养护工人数量、绿化保洁从业数量等信息。为了实现商业地图的接入和管养专题数据的融合,系统设置二维地图管理与服务。


养护费用收取

为了让养护管理过程中产生的费用更加清晰明了,系统将记录日常养护费用、隧道养护费用、清扫保洁费用与绿化管养费用的收取情况

项目管理

数据化管理的特点之一就是时效性,系统实时发送巡查情况,记录施工进度和灾害发生的具体位置、问题描述,及时上传现场采集的图片信息,方便跟踪、处理。电子地图准确标注养护人员、设施设备位置,自动接收巡查数据,并统计、分析、生成数据报表,留档保存。

应急管理

当遇上紧急情况或者恶劣天气时,工作人员能够实时安排应急物资、应急设备和应急人员,并且利用系统合理安排应急值班表。工作人员可以根据应急预案定期组织演练,将照片和方案上传至系统。系统实时推送应急突发事件的发生、处置、后续处理情况,体现出动人员、机械设备、抢险材料、发生费用等,并可反映出集团调配各养护公司力量的情况。


管养设施实时监测

系统根据重点路段、三危隐患点、隧道等地接入相应的实时视频监控,对管养范围道路塌陷、淘空、边坡、挡墙的情况进行实时监测。

用手机扫描二维码关闭
蓝颜gtv-蓝颜GTV平台-一同看GTV彩虹-GTV一同看gtv蓝颜安装轻量版 蓝颜gtv-蓝颜GTV平台-一同看GTV彩虹-GTV一同看gtv蓝颜安装轻量版 蓝颜gtv-蓝颜GTV平台-一同看GTV彩虹-GTV一同看gtv蓝颜安装轻量版 蓝颜gtv-蓝颜GTV平台-一同看GTV彩虹-GTV一同看gtv蓝颜安装轻量版 蓝颜gtv-蓝颜GTV平台-一同看GTV彩虹-GTV一同看gtv蓝颜安装轻量版